1
/
of
1
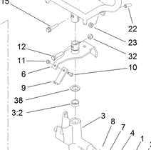
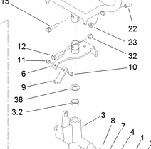
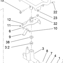
Toro Trencher Parts
321-4 - Reference Number 10 - Bolt
321-4 - Reference Number 10 - Bolt
Regular price
$0.99 USD
Regular price
Sale price
$0.99 USD
Unit price
/
per
Shipping calculated at checkout.
Couldn't load pickup availability
Part Number 321-4 - bolt
Share
