1
/
of
1
Toro Trencher Parts
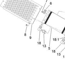
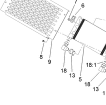
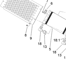
32104-95 - Reference Number 8 - Bolt
32104-95 - Reference Number 8 - Bolt
Regular price
$0.45 USD
Regular price
Sale price
$0.45 USD
Unit price
/
per
Shipping calculated at checkout.
Couldn't load pickup availability
Part Number 32104-95 - bolt
Share
