1
/
of
1
Toro Trencher Parts
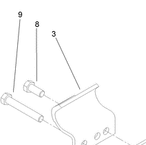
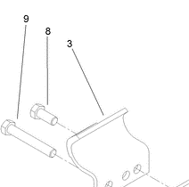
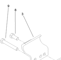
3211-42 - Reference Number 9 - Bolt
3211-42 - Reference Number 9 - Bolt
Regular price
$4.46 USD
Regular price
Sale price
$4.46 USD
Unit price
/
per
Shipping calculated at checkout.
Couldn't load pickup availability
Part Number 3211-42 - bolt
Share
