1
/
of
1
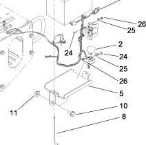
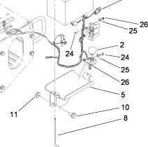
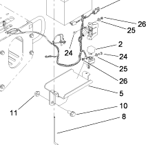
Toro Trencher Parts
32128-49 - Reference Number 11 - Nut
32128-49 - Reference Number 11 - Nut
Regular price
$1.04 USD
Regular price
Sale price
$1.04 USD
Unit price
/
per
Shipping calculated at checkout.
Couldn't load pickup availability
Part Number 32128-49 - nut
Share
