1
/
of
1
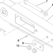
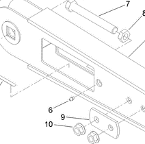
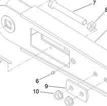
Toro Trencher Parts
32128-50 - Reference Number 10 - Nut
32128-50 - Reference Number 10 - Nut
Regular price
$1.78 USD
Regular price
Sale price
$1.78 USD
Unit price
/
per
Shipping calculated at checkout.
Couldn't load pickup availability
Part Number 32128-50 - nut
Share
