1
/
of
1
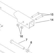
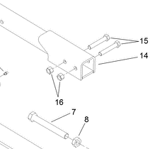
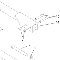
Toro Trencher Parts
32146-13 - Reference Number 16 - Nut
32146-13 - Reference Number 16 - Nut
Regular price
$3.29 USD
Regular price
Sale price
$3.29 USD
Unit price
/
per
Shipping calculated at checkout.
Couldn't load pickup availability
Part Number 32146-13 - nut
Share
