1
/
of
1
Toro Trencher Parts
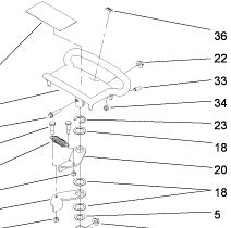
32151-91 - Reference Number 23 - Retaining Ring
32151-91 - Reference Number 23 - Retaining Ring
Regular price
$2.19 USD
Regular price
Sale price
$2.19 USD
Unit price
/
per
Shipping calculated at checkout.
Couldn't load pickup availability
Part Number 32151-91 - retaining ring
Share
