1
/
of
1
Toro Trencher Parts
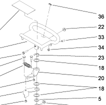
3218-3 - Reference Number 34 - Jam Nut
3218-3 - Reference Number 34 - Jam Nut
Regular price
$0.28 USD
Regular price
Sale price
$0.28 USD
Unit price
/
per
Shipping calculated at checkout.
Couldn't load pickup availability
Part Number 3218-3 - jam nut
Share
