1
/
of
1
Toro Trencher Parts
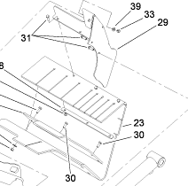
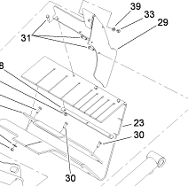
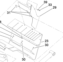
322-5 - Reference Number 31 - Bolt
322-5 - Reference Number 31 - Bolt
Regular price
$0.36 USD
Regular price
Sale price
$0.36 USD
Unit price
/
per
Shipping calculated at checkout.
Couldn't load pickup availability
Part Number 322-5 - bolt
Share
