1
/
of
1
Toro Trencher Parts
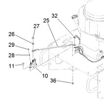
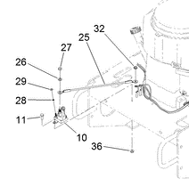
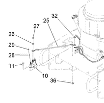
3220-2 - Reference Number 27 - Nut
3220-2 - Reference Number 27 - Nut
Regular price
$0.56 USD
Regular price
Sale price
$0.56 USD
Unit price
/
per
Shipping calculated at checkout.
Couldn't load pickup availability
Part Number 3220-2 - nut
Share
