1
/
of
1
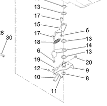
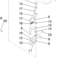
Toro Trencher Parts
323-8 - Reference Number 19 - Bolt
323-8 - Reference Number 19 - Bolt
Regular price
$1.20 USD
Regular price
Sale price
$1.20 USD
Unit price
/
per
Shipping calculated at checkout.
Couldn't load pickup availability
Part Number 323-8 - bolt
Share
