1
/
of
1
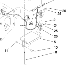
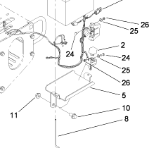
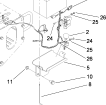
Toro Trencher Parts
3234-6 - Reference Number 10 - Bolt
3234-6 - Reference Number 10 - Bolt
Regular price
$3.19 USD
Regular price
Sale price
$3.19 USD
Unit price
/
per
Shipping calculated at checkout.
Couldn't load pickup availability
Part Number 3234-6 - bolt
Share
