1
/
of
1
Toro Trencher Parts
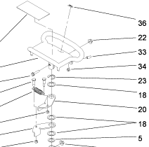
3247-6 - Reference Number 33 - Set Screw
3247-6 - Reference Number 33 - Set Screw
Regular price
$1.09 USD
Regular price
Sale price
$1.09 USD
Unit price
/
per
Shipping calculated at checkout.
Couldn't load pickup availability
Part Number 3247-6 - set screw
Share
