1
/
of
1
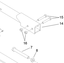
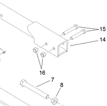
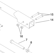
Toro Trencher Parts
325-12 - Reference Number 15 - Bolt
325-12 - Reference Number 15 - Bolt
Regular price
$2.27 USD
Regular price
Sale price
$2.27 USD
Unit price
/
per
Shipping calculated at checkout.
Couldn't load pickup availability
Part Number 325-12 - bolt
Share
