1
/
of
1
Toro Trencher Parts
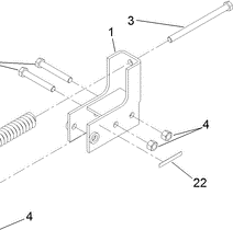
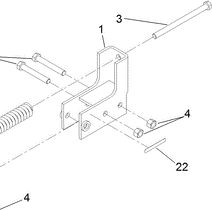
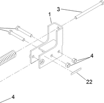
325-37 - Reference Number 3 - Bolt
325-37 - Reference Number 3 - Bolt
Regular price
$2.42 USD
Regular price
Sale price
$2.42 USD
Unit price
/
per
Shipping calculated at checkout.
Couldn't load pickup availability
Part Number 325-37 - bolt
Share
