1
/
of
1
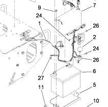
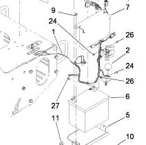
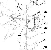
Toro Trencher Parts
3255-8 - Reference Number 27 - Washer
3255-8 - Reference Number 27 - Washer
Regular price
$0.34 USD
Regular price
Sale price
$0.34 USD
Unit price
/
per
Shipping calculated at checkout.
Couldn't load pickup availability
Part Number 3255-8 - washer
Share
