1
/
of
1
Toro Trencher Parts
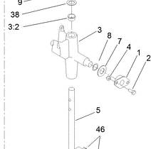
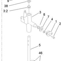
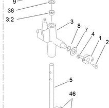
3256-39 - Reference Number 7 - Washer
3256-39 - Reference Number 7 - Washer
Regular price
$1.29 USD
Regular price
Sale price
$1.29 USD
Unit price
/
per
Shipping calculated at checkout.
Couldn't load pickup availability
Part Number 3256-39 - washer
Share
