1
/
of
1
Toro Trencher Parts
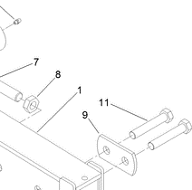
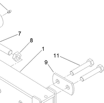
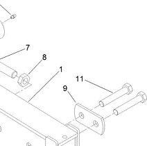
327-14 - Reference Number 11 - Bolt
327-14 - Reference Number 11 - Bolt
Regular price
$2.64 USD
Regular price
Sale price
$2.64 USD
Unit price
/
per
Shipping calculated at checkout.
Couldn't load pickup availability
Part Number 327-14 - bolt
Share
