1
/
of
1
Toro Trencher Parts
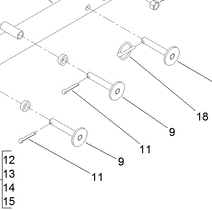
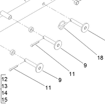
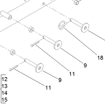
3272-30 - Reference Number 11 - Cotter Pin
3272-30 - Reference Number 11 - Cotter Pin
Regular price
$0.45 USD
Regular price
Sale price
$0.45 USD
Unit price
/
per
Shipping calculated at checkout.
Couldn't load pickup availability
Part Number 3272-30 - cotter pin
Share
