1
/
of
1
Toro Trencher Parts
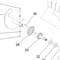
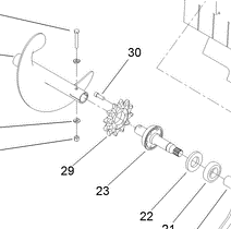
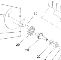
3274-4 - Reference Number 30 - Bolt
3274-4 - Reference Number 30 - Bolt
Regular price
$2.17 USD
Regular price
Sale price
$2.17 USD
Unit price
/
per
Shipping calculated at checkout.
Couldn't load pickup availability
Part Number 3274-4 - bolt
Share
