1
/
of
1
Toro Trencher Parts
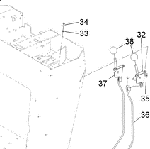
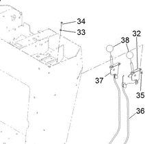
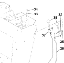
3290-134 - Reference Number 34 - Bolt
3290-134 - Reference Number 34 - Bolt
Regular price
$0.30 USD
Regular price
Sale price
$0.30 USD
Unit price
/
per
Shipping calculated at checkout.
Couldn't load pickup availability
Part Number 3290-134 - bolt
Share
