1
/
of
1
Toro Trencher Parts
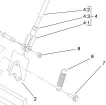
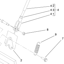
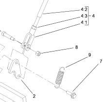
3296-29 - Reference Number 8 - Nut
3296-29 - Reference Number 8 - Nut
Regular price
$2.09 USD
Regular price
Sale price
$2.09 USD
Unit price
/
per
Shipping calculated at checkout.
Couldn't load pickup availability
Part Number 3296-29 - nut
Share
