1
/
of
1
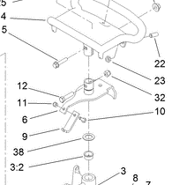
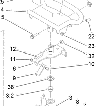
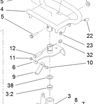
Toro Trencher Parts
3296-39 - Reference Number 32 - Nut
3296-39 - Reference Number 32 - Nut
Regular price
$2.29 USD
Regular price
Sale price
$2.29 USD
Unit price
/
per
Shipping calculated at checkout.
Couldn't load pickup availability
Part Number 3296-39 - nut
Share
