1
/
of
1
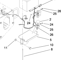
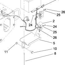
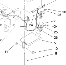
Toro Trencher Parts
33113-016 - Reference Number 24 - Bolt
33113-016 - Reference Number 24 - Bolt
Regular price
$0.34 USD
Regular price
Sale price
$0.34 USD
Unit price
/
per
Shipping calculated at checkout.
Couldn't load pickup availability
Part Number 33113-016 - bolt
Share
