1
/
of
1
Toro Trencher Parts
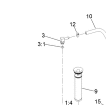
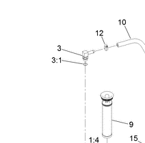
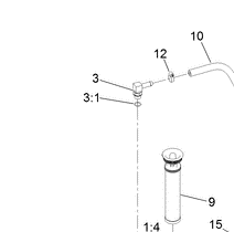
354-120 - Reference Number 3 - Elbow Fitting
354-120 - Reference Number 3 - Elbow Fitting
Regular price
$29.74 USD
Regular price
Sale price
$29.74 USD
Unit price
/
per
Shipping calculated at checkout.
Couldn't load pickup availability
Part Number 354-120 - elbow fitting, comes with o ring
Share
