1
/
of
1
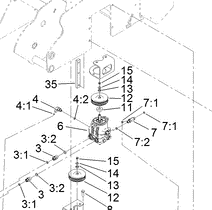
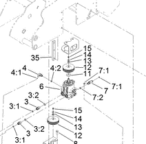
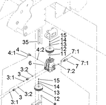
Toro Trencher Parts
73-3580 - Reference Number 14 - Washer
73-3580 - Reference Number 14 - Washer
Regular price
$4.09 USD
Regular price
Sale price
$4.09 USD
Unit price
/
per
Shipping calculated at checkout.
Couldn't load pickup availability
Part Number 73-3580 - washer
Share
