1
/
of
1
Toro Trencher Parts
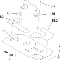
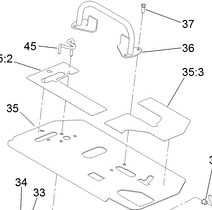
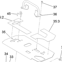
95-1726 - Reference Number 37 - Bolt
95-1726 - Reference Number 37 - Bolt
Regular price
$1.79 USD
Regular price
Sale price
$1.79 USD
Unit price
/
per
Shipping calculated at checkout.
Couldn't load pickup availability
Part Number 95-1726 - bolt
Share
