1
/
of
1
Toro Trencher Parts
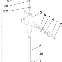
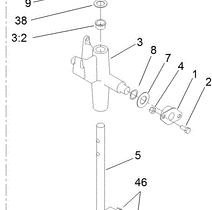
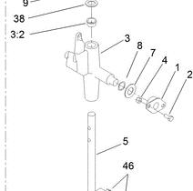
95-3703 - Reference Number 8 - Washer
95-3703 - Reference Number 8 - Washer
Regular price
$3.50 USD
Regular price
Sale price
$3.50 USD
Unit price
/
per
Shipping calculated at checkout.
Couldn't load pickup availability
Part Number 95-3703 - washer
Share
