1
/
of
1
Toro Trencher Parts
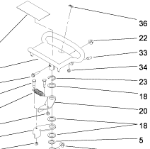
98-1459 - Reference Number 36 - Decal
98-1459 - Reference Number 36 - Decal
Regular price
$4.37 USD
Regular price
Sale price
$4.37 USD
Unit price
/
per
Shipping calculated at checkout.
Couldn't load pickup availability
Part Number 98-1459 - decal
Share
