1
/
of
1
Toro Trencher Parts
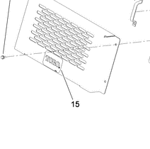
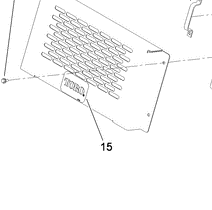
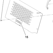
99-2385 - Reference Number 15 - Decal
99-2385 - Reference Number 15 - Decal
Regular price
$4.49 USD
Regular price
Sale price
$4.49 USD
Unit price
/
per
Shipping calculated at checkout.
Couldn't load pickup availability
Part Number 99-2385 - decal
Share
