1
/
of
1
Toro Trencher Parts
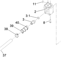
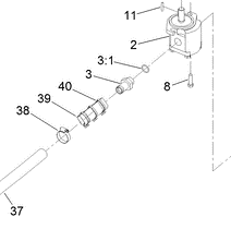
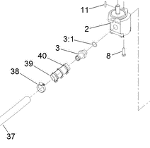
99-3017 - Reference Number 3 - Fitting
99-3017 - Reference Number 3 - Fitting
Regular price
$74.73 USD
Regular price
Sale price
$74.73 USD
Unit price
/
per
Shipping calculated at checkout.
Couldn't load pickup availability
Part Number 99-3017 - fitting, comes with o ring
Share
