1
/
of
1
Toro Trencher Parts
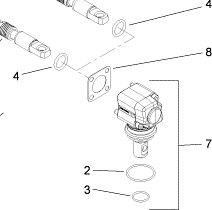
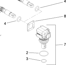
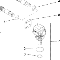
99-3075 - Reference Number 8 - Gasket
99-3075 - Reference Number 8 - Gasket
Regular price
$13.70 USD
Regular price
Sale price
$13.70 USD
Unit price
/
per
Shipping calculated at checkout.
Couldn't load pickup availability
Part Number 99-3075 - gasket
Share
