1
/
of
1
Toro Trencher Parts
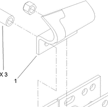
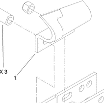
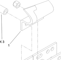
99-5924 - Reference Number 1 - Left Hand Soil Tooth
99-5924 - Reference Number 1 - Left Hand Soil Tooth
Regular price
$22.46 USD
Regular price
Sale price
$22.46 USD
Unit price
/
per
Shipping calculated at checkout.
Couldn't load pickup availability
Part Number 99-5924 - left hand soil tooth
Share
