1
/
of
1
Toro Trencher Parts
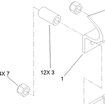
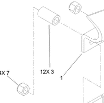
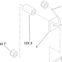
99-5926 - Reference Number 3 - Spacer
99-5926 - Reference Number 3 - Spacer
Regular price
$10.34 USD
Regular price
Sale price
$10.34 USD
Unit price
/
per
Shipping calculated at checkout.
Couldn't load pickup availability
Part Number 99-5926 - spacer
Share
