1
/
of
1
Toro Trencher Parts
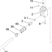
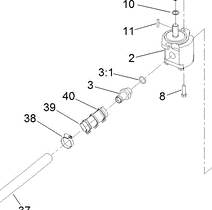
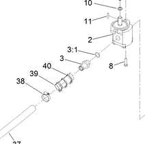
AU112950 - Reference Number 39 - Hose Protector
AU112950 - Reference Number 39 - Hose Protector
Regular price
$19.92 USD
Regular price
Sale price
$19.92 USD
Unit price
/
per
Shipping calculated at checkout.
Couldn't load pickup availability
Part Number AU112950 - hose protector
Share
